
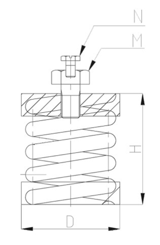
1、彈簧蓋與彈簧座為丁腈橡膠及鑄鐵相結合并烤漆處理,耐候性佳。
2、安裝簡單,可利用螺栓依需要調整高度及水平。
3、可配合水泥減震基座設計,可使用各類機械設備。
4、適用于各類水泵、風機、空調箱、管道等。
ZTH型彈簧減震器產品數據表:


橡膠減震器之所以如此被廣泛的運用,是因為它有效的利用了橡膠的如下諸多特性:
(1)橡膠具有高彈性和黏彈性;
(2)與鋼鐵材質相比,橡膠的彈性變形很大,彈性模量很小;
(3)橡膠的沖擊剛度大于動剛度,動剛度又大于靜剛度,有利于減少沖擊變形和動態變形;
(4)應力-應變曲線為橢圓形滯后線,其面積等于各個震動周期轉變為熱量的振能(阻尼),可通過配方設計調整之;
(5)橡膠為不可壓縮性材料(泊松比為0.5);
(6)橡膠形狀可以自由選擇,硬度可以通過配方設計加以調整,可以滿足不同方向的剛度和強度的要求。
載荷范圍
載荷范圍:245N-35040N;位移范圍有二種:0-75mm、0-150mm;
結構
結構采用外挑管,消除音隙非常方便,且有螺紋防松設置;
連接管
長短連接管采用左右螺紋,安裝距離詷量為40mm,且可現場調整,并設有螺紋防松設置;
間隙小
兩端接口采用鉸接,有效地消除了雙向使用時的間隙;
載荷刻度
上刻度板上增設了載荷指示刻度,使調節載荷、工作載荷一目了然。
為了減少前面提到的路面對車輛的振動和沖擊,需要彈簧把這些吸收振動和沖擊的能量,彈簧在懸架中就是一個儲能元件,但是暫時儲存起來還不行,還要把這些對車輛乘坐舒適性和操縱穩定性不利的能量消耗掉,這是就輪到減振器登場了,液壓式減振器的工作原理是當車架與車橋作往復相對運動,而活塞在缸筒內往復運動時,減振器殼體內的油液便反復地從一個內腔通過一些窄小的孔隙流入另一內腔,此時,孔壁與油液間的摩擦及液體分子內摩擦便形成對振動的阻尼力,使車身和車架的振動能量轉化為熱能,而被油液和減振器殼體所吸收,然后散到大氣中。簡單的說就是,將動能轉化為熱能。如果減振器在試驗臺連續運轉幾分鐘,減振器貯油缸外壁會變得非常熱,甚至燙手。
奔馳減震器是不是要更換?空調的風機盤管要記得裝減震器哦!?在辦公室里,在臥室里,您能否有過被空調的噪聲震動折磨的難以忍受的閱歷呢?安靜的空間里,微小的聲音有可能被放…
海馬s5減震器怎么調軟?目前,世界上已經納入各種標準的有近100種,并且隨著科技的進步和工農業的發展,新的牌號還在不斷增加。對于一種已知牌號的,根據其化學成分可推算其鉻當…
吊式彈簧減震器變形保修嗎?1、吊式彈簧減震器連接的電源電壓要穩定,因為如果電流過大或是過小都會讓長期在此條件下使用的吊式彈簧減震器出現損壞的情況。2、吊式彈簧減震器放…

DSM電機 橡膠減震條 產品 介紹: 1、減振條可以降低噪音和振動及延長設備使用壽命。 2、可提..

產品介紹: JB型彈簧減震器本體材質分為.殊強化尼龍及球狀鑄鐵。.殊強化尼龍材質為尼龍加強..

JL型 彈簧減振器 產品介紹: 1.彈簧表面采用噴塑處理,防銹能力佳。 2.彈簧均經熱處理及應力..

JGD型 橡膠剪切隔振器 是由合成橡膠和內置金屬件組成,經過硫化成圓錐體,橡膠部分受剪切力..
?阻尼彈簧減振器ZTA-320冰水機質量如何1、混泥土防水涂料的挑選及砂漿配合比的設計方案:2、原料的質量管理及精確計量檢定;3、施工現場的振搗力度及細...
?消防用水管道減震器具備的技術問題 技術性 本實用新型涉及到安防設備技術領域,實際為一種消防管道安裝支撐結構。 背景技術 消防管減震器就是指用以...
?管道彈簧減振器調試中的常見問題 1.調試過程中管道彈簧減震器無法調節制冷單元:原因可能是非人為調試; 未按照規定使用指定的制冷劑材料; 沒有...
?福瑞迪換什么格柏威減震器漏油是什么原因?作為一種彈性儲能裝置,分別選用金屬彈簧、磁彈簧和減震器。1)金屬彈簧振動、吸收振動、降低噪聲的能力...
?奔馳350怎么更換前獵豹前減震器性能的要求金屬減震器主要應用于汽車減震,那么金屬減震器在汽車減震中是怎樣應用的呢?減震器太軟,車身就會上下跳...
?減震器在水泵運行時起重要效果 很多人都了解離心水泵減震器,水泵機械設備常見于城市供水、廢水處理、水利水電工程、石化工業,我們的日常生活離不...
?高低可調彈簧減振器ZTA-160風冷螺桿冷水機組分解圖1、高低可調彈簧減振器在啟動時,應注意不能使高低可調彈簧減振器反轉,以免引起高低可調彈簧減振...
?橡膠減震器在離心機泵中的安裝方法有哪些? 1、橡膠減震器各構件應按離心機水泵的重要軸線對稱布局,室內空間布局可順時針或旋轉。 2、橡膠減震器當...